На данный момент технология масштабирования разрешения Sony PlayStation Spectral Super Resolution вроде и хорошо работает, но далека от своего идеала, а решить одну из важных проблем, связанную со снижением производительности, возможно, получится за счёт нового патента.

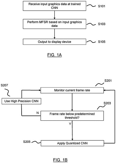
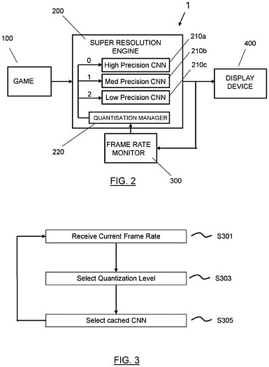
Работяги компании запатентовали технологию, подразумевающую динамическое изменение точности весов используемой свёрточной нейросети (Convolutional Neural Network). Грубо говоря, если производительность при использовании PSSR начнёт снижаться, что часто наблюдается в загруженных эффектами или динамичных сценах, то будет снижаться не разрешение, как это обычно бывает, а точность работы алгоритма масштабирования, из-за чего нагрузка на систему будет снижаться, при этом качество картинки будет ухудшаться не так сильно, как при снижении разрешения.

«Посредством (например, динамического) изменения точности весов и/или активаций, используемых при выполнении многокадрового сверхразрешения (MFSR), технология выгодно оптимизирует доступ к памяти и время вычислений для генерации графического вывода в зависимости от использования процессора во время игрового процесса. Например, если использование блока обработки увеличивается, то точность весов и/или активаций может быть снижена для того, чтобы сократить время вычисления графического вывода.

Способ может содержать обнаружение события высокой вычислительной нагрузки во время игрового процесса; и в ответ на обнаружение такого события задействовать снижение точности весов и/или активаций, используемых при выполнении MFSR. Таким образом, технология не изменяет разрешение (то есть количество пикселей) выходного сигнала с целью повышения производительности при обнаружении события высокой вычислительной нагрузки; скорее, точность вывода ANN снижается за счёт уменьшения точности весов и/или активаций модели. Однако это снижение является приемлемым для поддержания стабильного игрового процесса (например, плавной воспринимаемой анимации и сохраняемого разрешения) для пользователя».